Tel: + 86-760-89921987
Fax: + 86-760-88483779
| Verfügbarkeitsstatus: | |
|---|---|
| Menge: | |
Artikel: Custom Conner Clear Sliding Glass Quadrant Dusche Gehäuse (HL-2492Q)
Unser ursprünglicher Quadrant-Duschkabinen-Design ist die Präzision, die für eine einfachere Installation kombiniert wird, während der verfügbaren Platz in jedem Badezimmer die beste Nutzung des verfügbaren Platzes in jedem Badezimmer ist.
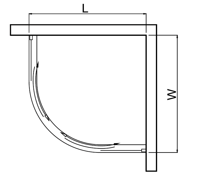
Standardgröße :
L 1200.
W 900.
H 1850.
Nicht-Standard-Größe:
L 700-1300.
W 700-1300.
Anpassung Größe: 30mm
Gehärtetes Sicherheitsglas: 6/8mm
R550.
Artikel: Custom Conner Clear Sliding Glass Quadrant Dusche Gehäuse (HL-2492Q)
Unser ursprünglicher Quadrant-Duschkabinen-Design ist die Präzision, die für eine einfachere Installation kombiniert wird, während der verfügbaren Platz in jedem Badezimmer die beste Nutzung des verfügbaren Platzes in jedem Badezimmer ist.
Standardgröße :
L 1200.
W 900.
H 1850.
Nicht-Standard-Größe:
L 700-1300.
W 700-1300.
Anpassung Größe: 30mm
Gehärtetes Sicherheitsglas: 6/8mm
R550.
Tel: + 86-760-89921987
Fax: + 86-760-88483779
